Działka  pokojowe na Sprzedaż

pokoje 3167m²
ŁÓDZKIE Łódź

506 720 PLN

Działka z potencjałem inwestycyjnym na Lublinku! 3167 m²

506 720 PLN Negocjuj cenę >

ŁÓDZKIE Łódź MAPA

1/6

506 720 PLN WYŁĄCZNOŚĆ   

Na sprzedaż działka o powierzchni 3167 m², objęta miejscowym planem zagospodarowania przestrzennego z przeznaczeniem pod zabudowę mieszkaniową jednorodzinną z usługami (52MNU). To idealna propozycja zarówno dla inwestora, jak i osoby prywatnej planującej budowę domu z funkcją usługową.
Działka zlokalizowana przy ul. Lublinek.

Najważniejsze ustalenia MPZP:
Przeznaczenie: zabudowa mieszkaniowa jednorodzinna usługi,
  • Powierzchnia zabudowy do 50% powierzchni działki, min. 30% powierzchni biologicznie czynnej,
  • Część usługowa może stanowić do 30% powierzchni całkowitej budynków mieszkalnych,
  • Zabudowa wolnostojąca; możliwa bliźniacza
  • Możliwość realizacji usług zarówno w budynku mieszkalnym, jak i jako obiekt wolnostojący,
  • Garaże zintegrowane z budynkiem mieszkalnym, a przy istniejącej zabudowie dopuszczalne również budynki wolnostojące,
  • Pomieszczenia gospodarcze w bryle domu lub jako budynki towarzyszące,
  • Obowiązek zapewnienia miejsc parkingowych:
    • min. 2 stanowiska na 1 mieszkanie,
    • 1 stanowisko na każde 50 m² powierzchni usług,
Dlaczego warto?
  • Duża powierzchnia działki daje elastyczność w projektowaniu – dom jednorodzinny, dom z funkcją usługową, a nawet potencjał dla inwestycji typu gabinet, biuro, salon usługowy.
  • Parametry zabudowy pozwalają tworzyć nowoczesną, funkcjonalną przestrzeń zgodnie z aktualnymi standardami.
  • Atrakcyjne zapisy MPZP umożliwiają łączenie funkcji mieszkalnej i biznesowej – idealne dla osób chcących prowadzić działalność z domu.
  • Dobry i szybki dojazd do S 14
  • Dostęp do komunikacji publicznej ok. 1km ( autobus, ŁKA)
  • W promieniu 3 km pełna infrastruktura niezbędna dla codziennego życia: szkoły, sklepy, przychodnie itp.
To działka, która otwiera szerokie możliwości aranżacyjne i inwestycyjne, z jasnymi, korzystnymi zasadami zabudowy w planie miejscowym.

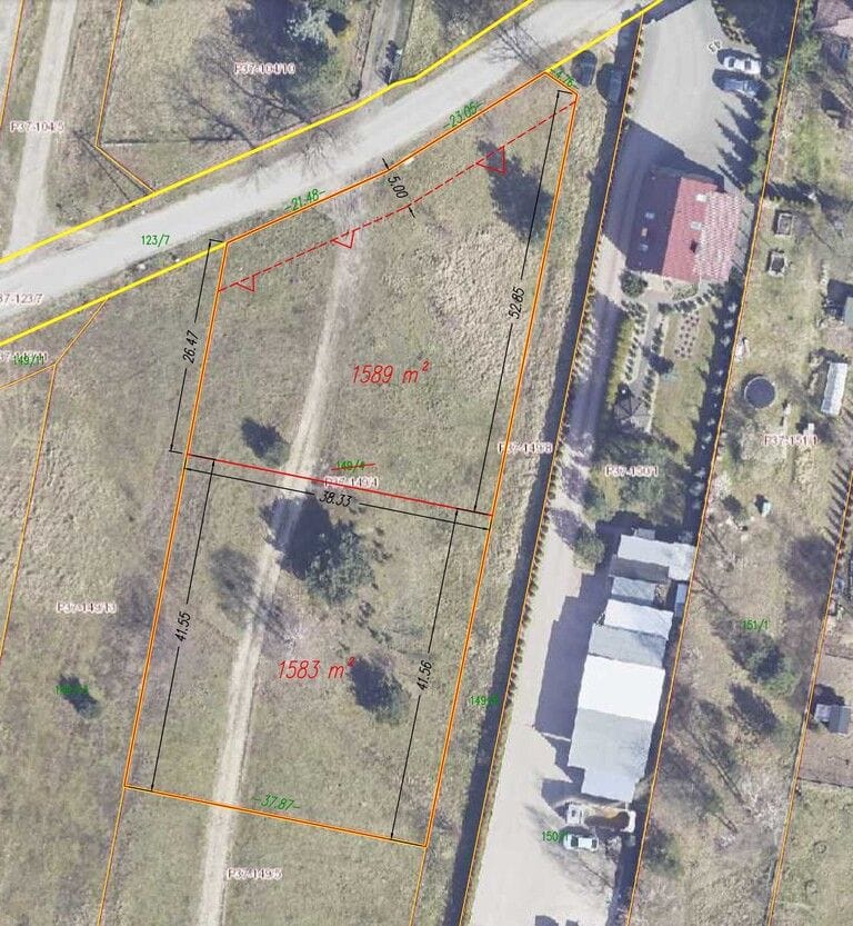
Istnieje możliwość podziału działki na dwie mniejsze ( zgodnie z koncepcją podziału).
Cena działki o pow. 1589 m2, z dostępem do ul. Lublinek - cena 286 020 zł (180 zł/m2),
druga działka o pow. 1583m2, z dojazdem drogą wewnętrzną - cena 277 025 zł ( 175 zł/m2. ).

Nie czekaj! Skontaktuj się i dowiedz się więcej o możliwościach tej nieruchomości!








Pokaż więcejmniej  

 
Ogólne warunki:
Cena:506 720 PLN
Waluta:PLN
Cena za m2:160 PLN
 
Numer oferty:
CRM:34964546846

Pokaż więcejmniej  

Masz pytania? Napisz!

Przepisz kod captcha:

Polecamy podobne oferty

Zapisz się na powiadomienia o podobnych ofertach

Przepisz kod captcha:

Zaktualizowaliśmy naszą Politykę Prywatności.

Nowe zapisy w Polityce Prywatności wynikają z konieczności dostosowania naszych działań oraz dokumentacji do nowych wymagań europejskiego Rozporządzenia o Ochronie Danych Osobowych (RODO), które jest stosowane od 25 maja 2018 r.

Zaawansowane